工程數字化內容中臺?iLink
iLink服務于工程企業中與工程設計項目有關的工程人員、業務人員和管理人員以及其上下游伙伴企業,打通不同部門和團隊之間就同一項目開展協作的通道,改變傳統的分散交流模式。通過iLink,可實現信息集中存儲與訪問,減少資料儲存、傳輸以及溝通成本,增強信息的準確性、及時性和安全性,使業務部門的需求能夠快速得到響應和反饋,從而極大提高各參與方協作效率。
iLink 同時也將用戶數據、行為數據、業務數據、流程數據、系統數據等沉淀下來,通過大數據、機器學習等方式,進行價值提煉,即可形成企業數據資產,繼而進一步提供價值,輔助決策,賦能前端。

功能概覽
項目立項及任務分解
利用立項模塊,結合項目管理方式、項目標準、項目WBS任務計劃,可快速完成項目基礎信息創建(項目目錄、訪問權限、項目屬性)及項目任務分配。
人工時統計及進度測量
支持項目計劃、目標、任務管理,幫助團隊成員清晰了解項目流程,實時獲取項目最新進度,隨時查看任務狀態與完成情況,有效跟蹤團隊工時和生產力。
一體化協同設計管理
1.規范和設計標準管理
提供統一工作空間托管和標準、規范管理,項目成員可基于同一套標準、規范進行設計。
2.文檔命名及屬性標準化管理
?提供項目資料命名和屬性標準化管理功能,并具備自動檢測機制;
?自動命名功能可保障無論文件新建或自動拆圖時均自動命名;
?交付物清單編號校驗功能,以及文件編碼和版次查重功能,可確保文件編碼正確性和規范性。

3.版本管理
具備完善的版本控制機制,文檔更新后,前一版自動轉為只讀狀態,僅最新版文檔允許檢出、編輯及重新檢入;同時支持手動設置任意歷史版本為最新工作版本。

4.權限動態管理
具備完整動態訪問授權體系,精確控制用戶在特定狀態下對項目以及相關文檔的訪問權限,以保證數據安全。
5.多專業并行協作設計
?深度集成Bentley、AutoCAD、PDS、PDMS、E3D、S3D等應用程序,以及Microsoft office系列、P3及SAP等工具;
?在線參考/鏈接/外部引用上游專業內容;
?圖紙參考關系管理。

6.自動化和智能化效率工具
內置了一系列高效、智能輔助工具,協助設計人員輕松完成圖框快速插入、圖紙目錄自動生成、圖面標準化檢查、批轉PDF、批量拆圖等繁瑣任務。

7.Office文件在線協同編輯
支持Office/WPS格式的文檔、電子表格、演示文稿在線多人協同編輯。
8.高效消息溝通體系
內置消息溝通系統,支持自動和手動發送消息,方便用戶靈活選擇溝通方式,同時系統支持與現有郵件系統集成,確保用戶能夠隨時隨地進行高效溝通。
9.專屬個人工作臺
自動匯總與用戶相關的任務目錄,并將其呈現在個人工作臺中,用戶能夠在一個集中、便捷的界面上完成所有工作任務。
流程控制及管理
?具備高度靈活與便捷的工作流程控制及管理功能,不僅內置設校審批、提資、設計委托、設計升版、設計變更等核心流程,更支持用戶根據自身需求自定義流程;
?根據公司預設模板自動智能生成流程相關單據,確保文檔的規范性、準確性與一致性,有效避免人為錯誤,提升文檔質量;
?支持流程進度實時查看,了解當前工作運行狀態,以便合理調整進度與資源分配,確保項目順利進行。
三維模型在線瀏覽及校審
支持Web端瀏覽各專業設計文件,無需額外安裝任何專業軟件,即可隨時隨地進行模型瀏覽及設計審查。
用戶可在Web端創建問題記錄,并發送任務并提醒相關責任人,確保快速響應和處理。

檔案數字化管理
檔案管理模塊涵蓋檔案全生命周期內的收集、整理、保存、查詢、利用、統計、鑒定、銷毀等各類功能。該模塊平移了業界著名的檔案管理軟件Documentum的核心功能,且遵循國家檔案管理標準及數字化檔案館建設要求,并融合了工程設計、建設企業的檔案管理經驗和方法論,可作為知識密集型企業構建知識庫、沉淀Know-how并進行經驗傳承的重要載體。

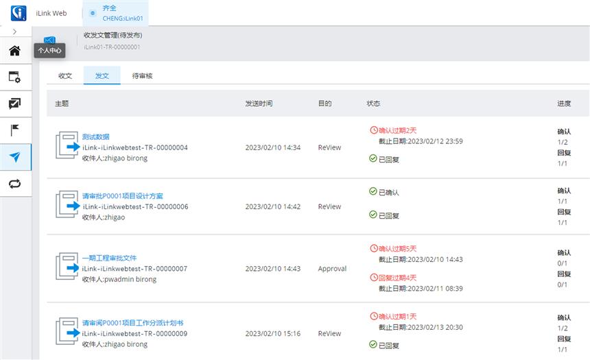
收文發文及對外協作
將設計成果依據既定流程和權限發送給團隊成員、業主、外部合作伙伴。接收方可直接查看、審閱設計成果,并快速回復反饋意見,系統全程記錄所有操作過程,包括成果的發送、接收、查看、審閱及回復等。
多維搜索
配備高性能搜索工具,不僅支持常規的檢索功能,還具備全文檢索和全屬性檢索。
全周期日志記錄管理
記錄文檔全生命周期內的所有操作記錄,涵蓋時間戳、文本注釋等重要信息,確保每一步操作都有跡可循,為文檔管理、追蹤和數據分析提供有力支撐。